您好!欢迎访问合肥仁楷智能装备有限公司官网!
咨询热线:138-1681-8164
新闻资讯

传播公司新闻,了解行业动态

当前位置: 首页 新闻资讯
新闻资讯

在线教您如何用兆欧表测量电机绕组绝缘电阻

发布时间:2025-10-31    来源:合肥仁楷智能    浏览次数:376
对于新安装或停用3个月以上的三相异步电动机,使用前都要用兆欧表测量绕组的绝缘电阻,具体包括测量绕组对地的绝缘电阻和绕组间的绝缘电阻。
 
1、 兆欧表测量绕组对地的绝缘电阻
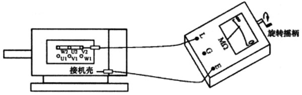
测量电动机绕组对地的绝缘电阻使用兆欧表(500V),测量如图1所示,在测量时,先拆掉接线端子的电源线,端子间的连接片保持连接,将兆欧表的L测量线接任一接线端子,E测量线接电动机的机壳,然后摇动兆欧表的手柄进行测量,对于新电动机,绝缘电阻大于1MΩ为合格,对于运行过的电动机,绝缘电阻大于0.5MΩ为合格。若绕组对地绝缘电阻不合格,应烘干后重新测量,达到合格才能使用。
 
图1 兆欧表测量电动机绕组对地的绝缘电阻
2、兆欧表测量绕组间的绝缘电阻
测量电动机绕组间的绝缘电阻使用兆欧表(500V),测量如图2所示。测量时,拆掉接线端子和电源线和端子间的连接片,将兆欧表的L测量线接某相绕组和一个接线端子,E测量线接另一相绕组的一个接线端子,然后摇动兆欧表的手柄进行测量,绕组间的绝缘电阻大于1MΩ为合格,最低限度不能低于0.5MΩ。再用同样方法测量其他相之间的绝缘电阻,若绕组对地绝缘电阻不合格,应烘干受重新测量,达到合格才能使用。
 
图2 兆欧表测量电动机绕组间的绝缘电阻

声明:本网站发布的内容(图片、视频和文字)以原创、转载和分享网络内容为主,如果涉及侵权请尽快告知,我们将会在第一时间删除。文章观点不代表本网站立场,如需处理请联系客服。电话:13816818164。

本站全力支持关于《中华人民共和国广告法》实施的“极限化违禁词”的相关规定,且已竭力规避使用“违禁词”。故即日起凡本网站任意页面含有极限化“违禁词”介绍的文字或图片,一律非本网站主观意愿并即刻失效,不可用于客户任何行为的参考依据。凡访客访问本网站,均表示认同此条款!反馈邮箱:624329604@qq.com。