您好!欢迎访问合肥仁楷智能装备有限公司官网!
咨询热线:138-1681-8164
新闻资讯

传播公司新闻,了解行业动态

当前位置: 首页 新闻资讯
新闻资讯

如何快速判断电机绕组好坏的方法?志准电气来解说:

发布时间:2026-01-09    来源:合肥仁楷智能    浏览次数:129
我们生活中应用电机的产品无处不在,由于三相异步电机具有结构简单,运行可靠,价格便宜,过载能力强,安装、使用、维护过程简单方便的特点,被广泛运用在各行各业。
例如空调设备,电梯,机床,输送带等电力拖动场合。电力拖动是指用电力(通常是电动机)拖动负载。据统计,全球总电量一半左右都是被电机消耗,并且越发达地区电机消耗电量比例越高。
但是当三相异步电动机长时间未使用,或三相异步电动机运行出现异常情况时,机械问题比较好发现,但是有些在内部的电气问题,我们很难发现,需要借助测量仪表快速判断电机绕组的好坏。现场工作中对三相异步电机好坏的判断,分别需要判断电机三相绕组的电阻是否平衡测量,还要判断电机的绝缘是否良好。判断完后电机绕组没有问题,机械方面也没有问题,电机就能正常使用。合肥仁楷智能装备有限公司今天重点介绍如何快速判断电机绕组好坏的方法。
三相绕组阻值测量
首先可以使用万用表测量三相定子绕组的电阻是否平衡。测量方法,首先将电机绕组的短接片拆除,分别用万用表电阻档测量U1/U2、V1/V2、W1/W2三相绕组的阻值。三相电机每相绕组的阻值一般在零点几欧到几十欧,功率越大的电机,阻值越小,所以这个没有固定值,根据电机的功率不同而不同。正常情况三相阻值都是非常接近或相等。 测量结果三相电阻最大值和最小值与平均值之差,不得超过平均值的±1到2.5%。否则就有绕组损坏的可能。严重情况下将迅速烧坏电机。
绝缘阻值测量说明
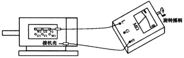
电机绝缘阻值测量可分为:电机三相绕组之间的绝缘阻值测量;各绕组对地的绝缘也就是对外壳的绝缘阻值测量。由于是绝缘阻值电阻都非常大,万用表测量电压不够,所以测量绝缘阻值时,需要用兆欧表检查,也叫摇表或者绝缘电阻表。我们应根据被测电动机的额定电压来选择兆欧表的等级。例如500V以下的低压电动机,选用500V的兆欧表。
三相异步电动机由于长时间高温下使用容易绝缘损坏,造成绝缘下降以后,容易造成外壳漏电,绕组与绕组间发生短路,导致漏保或空开频繁动作跳闸。当出现电机的断路器频繁且无规律动作跳闸时,需要测量其绝缘阻值,低压电机绝缘测量结果为使用过的电机应不小于0.5MΩ,新电机不小于1MΩ。方可投入使用,反之则需要进行检修。
相间绝缘阻值测量
通常电机绕组通过短接片相连在一起,测量相间绝缘阻值时不拆短接片测量值相当于绕组发生短路,必须拆除短接片才能让各绕组分开。需要将兆欧表的红表笔夹U1接线柱上,黑表笔夹在V1接线柱上。然后摇动摇表,摇到频率120转每分钟。大概一分钟左右后读数,此时要边摇边读数。记录下此时的U1和V1相的绝缘阻值。然后按上述操作再分别测试U1/W1;V1/W1的相间绝缘阻值,最后查看它们之间的绝缘阻值是否在正常范围内。
合肥仁楷智能装备有限公司 
相间对地绝缘阻值测量
相间对地绝缘阻值判断时,分别测量各相绕组和外壳的绝缘阻值,将摇表红表笔夹在U1接线柱上,黑表笔夹在电机外壳。注意外壳要没有油漆,否则测试不准。然后摇动摇表,摇到120转每分钟。摇到大概一分钟左右读数,此时要边摇边读数。接下来依次重复刚才步骤测量V1对外壳;W1对外壳,记录测量的绝缘阻值是否在正常范围内。
合肥仁楷智能装备有限公司 

声明:本网站发布的内容(图片、视频和文字)以原创、转载和分享网络内容为主,如果涉及侵权请尽快告知,我们将会在第一时间删除。文章观点不代表本网站立场,如需处理请联系客服。电话:13816818164。

本站全力支持关于《中华人民共和国广告法》实施的“极限化违禁词”的相关规定,且已竭力规避使用“违禁词”。故即日起凡本网站任意页面含有极限化“违禁词”介绍的文字或图片,一律非本网站主观意愿并即刻失效,不可用于客户任何行为的参考依据。凡访客访问本网站,均表示认同此条款!反馈邮箱:624329604@qq.com。